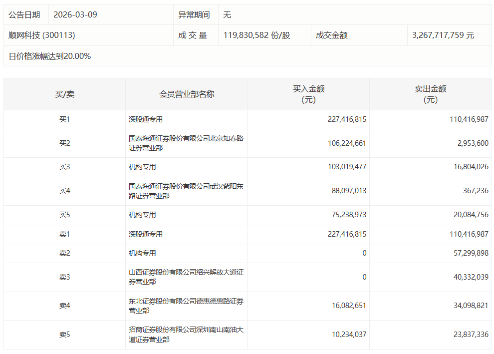
顺网科技今日20%涨停,成交额32.68亿元,换手率23.11%。盘后龙虎榜数据显示,深股通专用席位买入2.27亿元并卖出1.10亿元,2家机构专用席位净买入1.41亿元,有1家机构专用席位净卖出5729.99万元。

(文章来源:第一财经)
文章来源:第一财经
顺网科技今日20%涨停,成交额32.68亿元,换手率23.11%。盘后龙虎榜数据显示,深股通专用席位买入2.27亿元并卖出1.10亿元,2家机构专用席位净买入1.41亿元,有1家机构专用席位净卖出5729.99万元。

(文章来源:第一财经)