近日,华勤技术(603296)向港交所递交招股书,这家刚在2023年登陆A股的智能硬件ODM龙头,2024年营收突破千亿大关,2025年上半年营收同比激增113.06%至839.39亿元。
然而,在这组看似风光的数据背后,华勤技术却面临经营性现金流由正转负、应收账款激增、毛利率下滑的困境。
净利率、毛利率双双下滑
招股书显示,华勤技术近三年营业收入总体呈现增长趋势,2022年到2024年分别为926.46亿、853.38亿和1098.78亿元,2025年上半年更是达到839.39亿元,同比增长明显;毛利分别为88.72亿元、93.37亿元和98.84亿元,2025年上半年为62.11亿元。

然而,在收入和毛利双双增长的背后,是综合毛利率的高位回落。2023年,公司综合毛利率升至10.9%的高点后,在2024年降至9%,2025年上半年进一步降至约7.4%;净利率方面,从2023年的约3.1%下滑至2024年的2.7%,2025年上半年仅2.3%。

更令人担忧的是,2025年上半年,公司经营活动现金净流出15.22亿元,由正转负,与净利润形成鲜明对比。
这一财务表现,揭示的是公司业务模式的困境:作为全球知名的智能产品ODM厂商,华勤技术难以摆脱低利润率的代工宿命。移动终端设备、计算及数据中心业务构成了公司收入的主要来源,但这两项业务的毛利率相对较低,且2025年上半年出现了普遍回落,其中移动终端毛利率仅8.8%,计算及数据中心业务更是只有5.9%;另外,高毛利的创新业务(汽车电子及工业)占比仍然较小。
这意味着即便规模在扩张,若产品结构与议价环境不变,仍然保持“低毛利代工”模式,公司利润率改善空间仍然受限。
应收款项与负债双高
招股书显示,2022年到2024年,华勤技术年末的贸易应收款项及应收票据总额分别为143.57亿元、144.18亿元、255.07亿元,2025年上半年更是升至358.95亿元,周转天数从2023年的61.5天上升至2024年的66.3天,2025年上半年为66.6天。另外,2022年到2025年上半年,华勤技术期末的存货分别为62.11亿元、43.44亿元、114.76亿元和142.58亿元,周转天数分别为30.6天、25.3天、28.9天及30.1天。
与此相应,公司负债也同样走高,贸易应付款项及应付票据从2023年的216.34亿元跃升至2024年的372.81亿元,2025年6月末增至469.32亿元。此外,有息负债更值得警惕:债务总额自2023年的65.42亿元几乎翻倍至2024年的122.44亿元,2025年6月末/7月末进一步升至194.54/206.95亿元。
一边大量收入无法兑现,一边在外债台高筑,华勤技术的现金流质量引发市场担忧。


IPO前夕员工持股平台套现36亿
《财中社》发现,在华勤技术向港交所递交招股书的关键时期,公司五大员工持股平台却上演了一出精准套现的大戏。
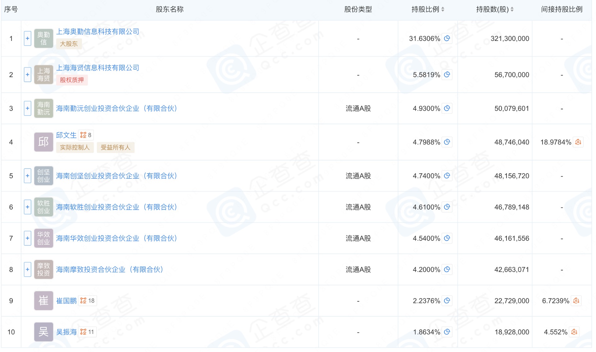
早在7月26日,华勤技术持股5%以上股东——海南勤沅、海南创坚、海南软胜、海南华效、海南摩致披露减持计划,拟在15个交易日后的3个月内减持合计数量不超过4063万股,即不超过公司总股本4%的股份,减持原因为自身资金需求。
从8月28日至9月17日,短短半个月期间,五大持股平台就集中减持了公司3.83%的股份,累计套现高达35.78亿元,随后便宣布终止减持计划。在减持前,五大持股平台分别持股5.79%、5.45%、5.40%、5.20%、5.02%,减持后分别持股4.93%、4.74%、4.61%、4.54%和4.20%。

从股价来看,华勤技术A股上市时的发行价为80.8元/股,上市后一度经历下跌又反弹的过程。截至9月18日收盘,股价报收于94.28元/股,较发行价上涨了16.68%,这也为员工持股平台的减持提供了较好的价格。值得注意的是,这些平台在减持后持股比例均降至5%以下,不再属于重要股东。减持计划原定上限为4063万股,而实际完成了95.88%,如果不是提前终止减持计划,套现规模可能更大。
有华勤技术证券事务部人士表示,减持是员工行为,董监高们暂时没有非常强烈的减持需求。但在港股IPO前夜,内部员工选择大规模落袋为安,仍然引发市场对公司的担忧。
(文章来源:财中社)